产品展示

图片展示

ZWC-CK-J

ZWC-CK-L

ZWC-CK-S

ZWC-MK

ZWC

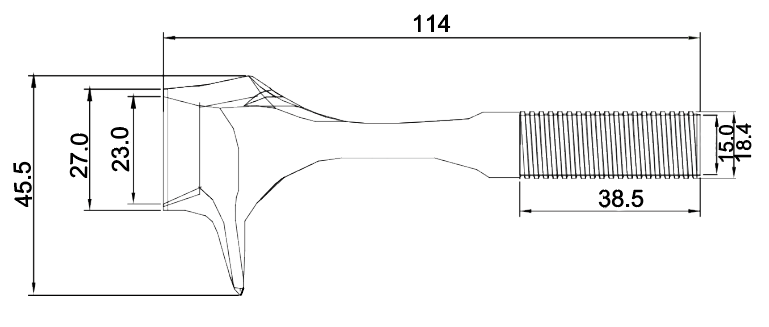
产品名称:ZWC系列

可搭配其他螺帽

CK-J

CK-L

CK-S

LM-1

MK

EK

PK

PC

自定义模型颜色
颜色1
颜色2

产品咨询: 0510-83798410

碳纤维材质产品展示

ZWC系列

ZWC

产品信息

345a6f2b-46dd-4540-b743-22eecbd66702.png

普通材质产品展示

ZWC系列

ZWC-CK-J

ZWC-EK

ZWC-CK-L

ZWC-PK

ZWC-CK-S

ZWC-PC

ZWC-LM-1

ZWC-MK